Honda CBR250RR 2020 Bakal Punya 3 Fitur Baru
Di atas kertas, hanya Honda CBR250RR yang memiliki mode berkendara. Terlihat keren dan canggih. Padahal, pada segmen sport 250cc, motor racikan PT Astra Honda Motor (AHM) ini masih ketinggalan beberapa fitur dari rivalnya. Namun, pendapat itu segera berubah ketika penyegaran model ini hadir akhir tahun nanti. CBR250RR dibekali tiga fitur baru.

Sebutlah salah satu kompetitornya seperti Kawasaki Ninja 250. Kuda besi yang identik dengan warna hijau, sekarang punya opsi smart key system. Bahkan, Suzuki punya varian dengan sistem kunci modern itu. Bisa ditemui pada salah satu varian Suzuki GSX-R150 yang notebene berada di bawah CBR250RR.
Pun demikian dengan assist & slipper clutch. Ninja 250 sudah menerapkannya sebagai fitur penunjang keamanan buat pengendara. Ini bahkan sudah didapat oleh pemilik Yamaha R15 VVA (variable valve actuation), yang lagi-lagi tak selevel dengan motor 250cc Honda itu. Secara fungsi, perangkat itu bekerja ketika terjadinya engine brake. Saat mengoper ke gigi lebih rendah juga tak ada gejala nyentak dan menghindari risiko ban belakang mengunci. Artinya, spare part yang bekerja pada kondisi ini bakal lebih awet. Namun, perangkat itu absen di Honda CBR250RR yang notabene mengusung tagline "total control".
Jika melihat perjalanannya, AHM memang belum memberikan pembaruan soal fitur. Justru mereka memberikan opsi dengan merilis Honda CBR250RR versi murah. Tapi, saat mendapati fakta dari rekanan kami dari zigwheels.com ini, Honda sepertinya siap memukul balik para kompetitornya dari sisi kekayaan fitur.
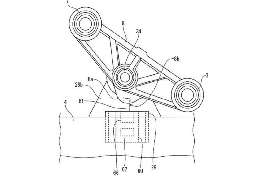
Melalui gambar paten yang diklaim kepunyaan Honda ini, menjelaskan CBR250RR bakal dilengkapi kunci pintar. Diperjelas lagi oleh penerapan kode K64J. Tak hanya itu, motor sport andalan Honda di balapan Asia ini juga rumornya dicekoki fitur assist & slipper clutch. Kalau melihat peruntukannya di lintasan, tentu ini menjadi perangkat yang bakal diapresiasi calon konsumen.
Ada rumor, CBR250RR terbaru turut disemati perangkat quick shifter. Nah, rumor lanjutan yang beredar, terapan tadi diduga muncul di ajang Tokyo Motor Show 2019. Dan, pameran otomotif itu CBR250RR diusung sebagai model 2020. Agak rancu mengingat motor ini sendiri merupakan buatan Indonesia. Tapi, cukup menarik jika memang Honda menyasar konsumen yang lebih luas. Terlebih dengan fiturnya sekarang.

Bekal Honda CBR250RR sendiri, sejatinya sudah cukup menggugah hasrat pecinta kecepatan. Selain punya tiga mode berkendara dan teknologi throttle by wire, Honda CBR250RR mengandalkan mesin dua silinder segaris. Keluaran tenaganya adalah 28,5 kW di 12.500 RPM dan torsi maksimal 23,3 Nm pada putaran mesin 11.000 RPM.
Jika dibandingkan dengan pesaing seperti Ninja 250 atau Yamaha R25, kemampuannya itu masih mirip-mirip. Tapi, Honda CBR250RR bakal punya nilai lebih dengan adanya smart key system, assist & slipper clutch dan bahkan quick shifter. Tinggal tunggu, berapa banderol yang ditetapkan pihak produsen nantinya. (Ano/Van)
Sumber: Zigwheels
Baca Juga: Skutik 150 cc Bergaya Unik, Honda ADV150 atau Yamaha Aerox 155
-
Jelajahi Honda CBR250RR
Cerita Terkait Honda CBR250RR
- Berita
- Artikel feature
- Review Redaksi
Model Motor Honda
Jangan lewatkan
Promo Honda CBR250RR, DP & Cicilan
GIIAS 2025
Tren & Pembaruan Terbaru
- Terbaru
- Populer
Anda mungkin juga tertarik
- Berita
- Artikel feature
Motor Unggulan Honda
- Terbaru
- Populer
Video Motor Honda CBR250RR Terbaru di Oto
Bandingkan & Rekomendasi
|
|
|
|
|
|
Kapasitas
249.7
|
250
|
248.8
|
249
|
250
|
|
Tenaga Maksimal
38
|
35.53
|
29.5
|
38.46
|
35.5
|
|
Jenis Mesin
Parallel Twin Cylinder, 4-Stroke, 8-Valve, Liquid Cooled, DOHC Engine
|
2 Cylinder, 4-Stroke, 4-Valves DOHC, Liquid Cooled Engine
|
Single Cylinder, 4-Stroke Engine
|
Parallel Twin Cylinder, 8 Valves, 4-Stroke, Liquid Cooled Engine
|
Inline 2 Cylinder, 4-Stroke, 4-Valve, Liquid-Cooled DOHC
|
|
Torsi Maksimal
23.3 Nm
|
23.6 Nm
|
24 Nm
|
23.5 Nm
|
23.6 Nm
|
|
Jenis Kopling
Multi-Plate, Wet Clutch with Coil Spring
|
Wet
|
-
|
Wet Multi-Plate, Manual
|
Wet, Multi-Plate, Manual
|
|
ABS
Tidak
|
Tidak
|
-
|
Tidak
|
Tidak
|
|
Mode Berkendara
Sport, Road
|
Sport, Road
|
Road
|
Sport
|
Sport, Road
|
|
Rem Depan
Disc
|
Disc
|
Disc
|
Disc
|
Disc
|
|
|
Tren Sport
- Terbaru
- Yang Akan Datang
- Populer
Artikel Motor Honda CBR250RR dari Zigwheels
- Motovaganza
- Review
- Artikel Feature