Serius Garap Mobil Terbang, Toyota Patenkan Desain
Impian mobil terbang memang sudah coba diwujudkan oleh beberapa inovator independen. Namun bagaimana jika angan ini diwujudkan oleh merek besar. Toyota dilaporkan bakal punya mobil terbang beberapa tahun mendatang.

Pengumuman itu sudah dilempar oleh manufaktur tahun lalu, dan sampai sekarang masih terus dikembangkan. Yang terbaru, desain yang anyar dipatenkan. Situs Motorauthority mewartakan, bocoran desain mobil terbang Toyota yang dipatenkan.
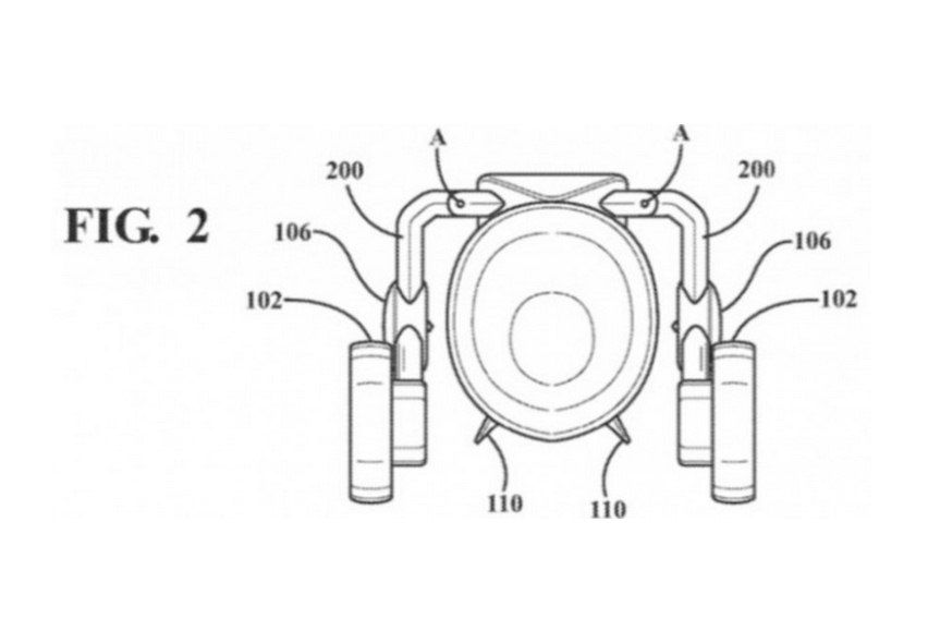
Dari gambar desain, terdeteksi mobil terbang Toyota gabungkan dua jenis kendaraan jadi satu. Artinya, mobil yang bisa melaju di daratan sekaligus punya kapabilitas mengudara bak pesawat. Bisa dilihat roda yang bakal digunakan ketika dalam mode serta metode perubahan dari darat ke mode terbang. Ide dasarnya untuk mobil terbang Toyota, menggunakan roda yang menempel pada lengan dengan mekanisme khusus. Desainnya memang masih nampak seperti goresan tanpa detail. Namun jika sudah masuk lembaga paten, biasanya konsep ini benar-benar akan masuk jalur produksi purwarupa.
Saat mobil beralih ke mode terbang, lengan itu bergerak turun, mengungkit bodi ke atas, dan roda berputar untuk memunculkan rotor. Perputaran rotor seperti yang biasa ditemui pada helikopter. Mudahnya, jika dibayangkan, empat rotor itu seperti yang biasa dijumpai pada drone. Diklaim perputaran rotor cukup kuat untuk mengangkat mobil itu ke udara.

Sementara tenaga, dalam desain Toyota disebut, masing-masing rotor dipasangkan dengan motor elektrik. Tiap motor elektrik disuplai dayanya dari sistem tenaga standar yang belum diputuskan. Bisa berupa paket baterai, turbin, fuel cell hidrogen dan kemungkinan sumber daya lain yang masih dipertimbangkan.
Pada Mei 2017, dilaporkan Toyota mengklaim sudah memberikan izin bagi sekumpulan teknisi untuk mulai mendalami teknologi mobil terbang. Manufaktur melaporkan, sudah mengucurkan dana bagi 30 insinyur mesin Toyota untuk memulai proses, yang sebelumnya sudah diteliti dalam proyek mobil terbang. Tim yang dibentuk disebut Cartivator itu, sebelumnya mengandalkan pendanaan terbuka dari banyak sumber untuk proyek mereka.
Dalam paten desain, juga ada laporan tambahan dari Toyota. Isinya menyebutkan, proyek mobil terbang yang berjalan memakai titel SkyDrive dan model dengan skala penuh, sudah pernah dipamerkan ke petinggi pada Juli 2017. Sementara pengujian untuk proyek mobil terbang itu, memang belum terlihat oleh publik alias masih tertutup rapat. Namun ekspektasinya, SkyDrive dengan pilot memakai kendali remot mungkin muncul tahun ini. Pasalnya, Toyota punya target untuk menyulut api obor Olimpiade 2020 di Tokyo dengan memakai SkyDrive. (Tom/Van)
sumber: Motor Authority
Jual mobil anda dengan harga terbaik
Pembeli asli yang terverifikasi
-
Jelajahi Toyota Rush
Cerita Terkait Toyota Rush
- Berita
- Artikel feature
- Review Redaksi
Model Mobil Toyota
Jangan lewatkan
GIIAS 2025
Tren & Pembaruan Terbaru
- Terbaru
- Populer
Anda mungkin juga tertarik
- Berita
- Artikel feature
Mobil Unggulan Toyota
- Terbaru
- Populer
Video Mobil Toyota Rush Terbaru di Oto
Bandingkan & Rekomendasi
|
|
|
|
|
|
Jenis Bahan Bakar
Bensin
|
Bensin
|
Bensin
|
Bensin
|
Bensin
|
|
Mesin
1496
|
1496
|
1497
|
1498
|
1498
|
|
Tenaga
103
|
103
|
119
|
148
|
112
|
|
Torsi
136 Nm
|
136 Nm
|
145 Nm
|
220 Nm
|
150 Nm
|
|
Tempat Duduk
7
|
7
|
7
|
7
|
5
|
|
Jenis Transmisi
Manual
|
Manual
|
Manual
|
CVT
|
CVT
|
|
Ground Clearance
-
|
220 mm
|
-
|
-
|
170 mm
|
|
|
Tren SUV
- Terbaru
- Yang Akan Datang
- Populer
Artikel Mobil Toyota Rush dari Carvaganza
Artikel Mobil Toyota Rush dari Zigwheels
- Motovaganza
- Artikel Feature