Honda CRF250L dan CRF250 Rally Terbaru Pakai Twin Spark?
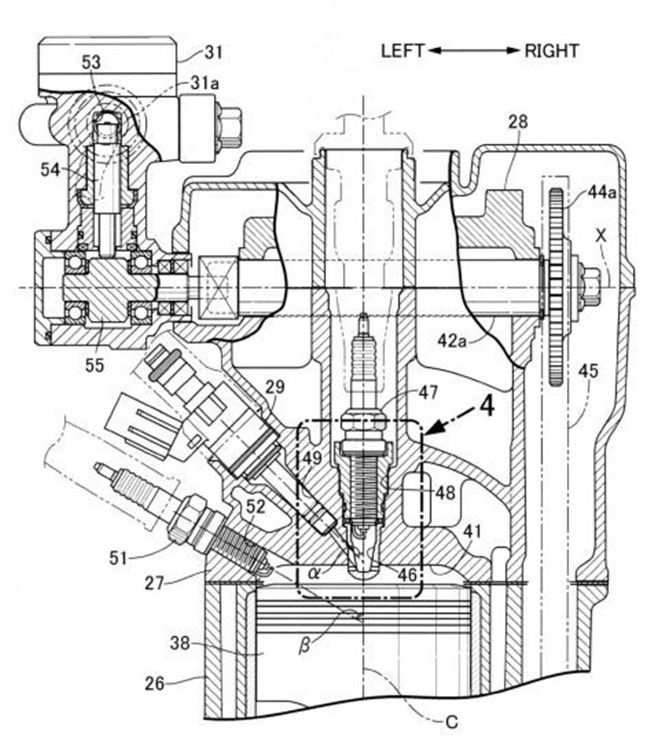
Honda CRF250L dan CRF250 Rally terbaru, kabarnya menggunakan teknologi twin-spark. Motor trail bermesin seperempat liter itu, pakai dua busi untuk membantu mesin bekerja lebih efisien. Hal itu terungkap ketika gambar paten keduanya bocor dan sudah tersebar ke jagat maya.

Seperti kita ketahui, produsen motor asal Jepang itu, bukan satu-satunya pembuat sepeda motor yang menggunakan teknologi dua busi. Di Indonesia, bahkan di Asia, Bajaj terkenal dengan teknologi itu. Bahkan, hingga sekarang, beberapa produk masih menggunakannya. Secara teoritis, fitur busi kembar membantu dalam hal pembakaran yang lebih baik, sehingga mengurangi emisi dan juga meningkatkan efisiensi bahan bakar. Fitur itu juga membantu mesin bekerja jauh lebih baik dibandingkan dengan unit busi tunggal.
Perubahan besar lain dari gambar yang bocor, penambahan mechanical fuel pump dan direct injection. Itu sangat menguntungkan untuk konsumen di negara-negara Asia Tenggara. Pasalnya, pompa bahan bakar mekanis lebih murah untuk diservis dan lebih mudah dirawat. Selain itu, memungkinkan sistem injektor/nozzle diletakkan langsung di dalam ruang pembakaran, yang jarang ditemukan di sepeda motor dengan teknologi twin-spark.
Salah satu alasan mengapa Honda mencoba memasukkan busi tambahan, untuk memenuhi regulasi emisi Eropa. Tidak hanya Honda, produsen motor lainnya juga menerapkan mesin yang lebih ‘sehat’ dari sebelumnya.

Honda CRF250L dan CRF250 Rally baru hadir pada 2020. Keduanya memiliki spesifikasi tidak jauh berbeda. Tapi dari perubahan yang didapat, sepertinya berpengaruh pada performanya. Jika berkaca pada model sebelumnya, mesinnya berkapasitas 249 cc, liquid-cooled, DOHC single-cylinder power plant dan berteknologi Honda PGM-FI. Mampu mengembuskan tenaga sampai 24,4 hp pada putaran mesin 8.500 rpm dan torsi puncaknya sebesar 22,6 Nm pada 6.750 rpm. Daya itu dipadu dengan transmisi 6 tingkat speed, yang kemudian dilanjutkan ke roda belakang melalui rantai.
Kedua motor trail Honda, memiliki perbedaan di bagian bodinya. CRF250L terlihat lebih ramping dan berkesan lincah, sementara untuk CRF250 Rally lebih ke arah motor untuk perjalanan jarak jauh atau touring.
Penampilan paling menarik perhatian, terletak pada headlamp yang tak umum digunakan. Belum diketahui apakah sudah menggunakan LED atau belum. Dari sketsa paten itu, suspensi depan terpantau menggunakan jenis konvensional. Padahal model sebelumnya, menggunakan up side down lansiran Showa. Sedangkan di kaki belakang, sepertinya menggunakan mono-shock link yang dapat diatur ketinggiannya.
Roda depan 21 inci dan kombinasi roda belakang 18 inci. Untuk CRF250L memiliki ground clearance 255 mm, sedangkan CRF250 Rally memiliki ground clearance 270 mm. Sejauh ini, belum ada berita kapan Honda mengenalkan off-roader 250 cc yang diperbarui itu. CRF250L hadir sebagai motor trail dual purpose yang legal digunakan di jalan umum. Semoga jika datang ke Indonesia, sudah dibekali Surat Tanda Nomor Kendaraan (STNK), seperti Yamaha WR250R. (Bgx/Odi)
Sumber: Zigwheel
Baca Juga: Honda CBR250RR 2020 Bakal Punya 3 Fitur Baru
-
Jelajahi Honda CRF250Rally
Cerita Terkait Honda CRF250Rally
- Berita
- Artikel feature
Model Motor Honda
Promo Honda CRF250Rally, DP & Cicilan
IIMS 2026
Tren & Pembaruan Terbaru
- Terbaru
- Populer
Anda mungkin juga tertarik
- Berita
- Artikel feature
Motor Unggulan Honda
- Terbaru
- Populer
Video Motor Honda CRF250Rally Terbaru di Oto
Bandingkan & Rekomendasi
Honda CRF250Rally
Rp 92,93 Juta
Harga CRF250Rally
|
|
|
|
|
|
Kapasitas
249.6
|
249
|
249
|
249
|
64.9
|
|
Tenaga Maksimal
24.4
|
-
|
24.13
|
24.13
|
-
|
|
Jenis Mesin
Liquid-Cooled, 4-Stroke, Single Cylinder, DOHC
|
Single Cylinder, 2-Stroke Engine
|
4-Stroke, DOHC
|
4-Stroke, DOHC
|
Single Cylinder, 2-Stroke Engine
|
|
Torsi Maksimal
22.6 Nm
|
-
|
21 Nm
|
21 Nm
|
-
|
|
Ground Clearance
270 mm
|
375 mm
|
225 mm
|
285 mm
|
280 mm
|
|
Ban belakang
120/80 R18
|
-
|
130/70 R17
|
-
|
80/100 R12
|
|
Ukuran velg belakang
R18
|
-
|
R17
|
-
|
R12
|
|
Ukuran velg depan
R21
|
-
|
R17
|
-
|
R14
|
|
Ban depan
-
|
-
|
110/70 R17
|
-
|
60/100 R14
|
|
|
Tren Off Road
- Terbaru
- Yang Akan Datang
- Populer
Artikel Motor Honda CRF250Rally dari Zigwheels
- Motovaganza
- Artikel Feature