Honda Ajukan Hak Paten Clutch by Wire Untuk Sepeda Motor
Honda dikabarkan mengajukan hak paten dalam hal pengembangan sistem kopling sepeda motor. Mekanismenya mirip dengan throttle-by-wire yang tersedia saat ini. Menggunakan prinsip hidrolik dan elektronik untuk menghilangkan hubungan langsung antara tuas kopling dan kopling itu sendiri. Bukan tidak mungkin pabrikan Jepang meluncurkan teknologi itu untuk produknya di masa depan.
Honda merupakan salah satu dari sekian banyak pabrikan yang berinovasi di bagian transmisi dalam hal sepeda motor. Tentu, quickshifter dan slipper clutch telah menjadi hal yang lumrah belakangan ini. Tetapi konsep dasar dari gearbox sekuensial 5 atau 6 kecepatan tetap tidak berubah selama beberapa dekade. Kecuali Honda yang sudah bereksperimen dengan sistem dual-clutch semi-otomatis. Sekarang, merek tersebut tampaknya sedang mengerjakan sistem Cluth by wire yang inovatif untuk produknya.
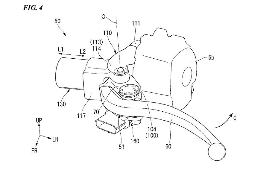
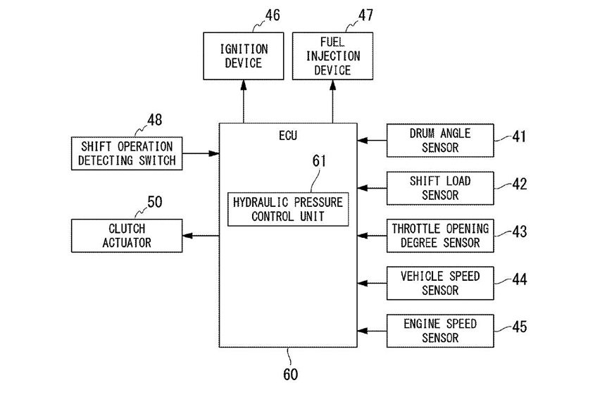
Gambar paten menunjukkan tuas kopling konvensional dipasang di stang, tapi posisinya dipantau secara elektronik. Pembacaan ini kemudian dikirim ke unit kontrol hidraulik, yang juga menerima sejumlah informasi lain termasuk kecepatan kendaraan, rpm engine, bukaan throttle dan gerakan tuas persneling. Berdasarkan semua data ini, Accelerator Position Sensor (APS) dan ECU memastikan bahwa setiap aplikasi kopling berjalan sempurna, terlepas dari seberapa kikuk pengendara.

Sistem ini berbeda dengan konvensional. Tekanan hidrolik digunakan untuk menghubungkan ke pelat kopling. Ini berarti pengaturannya aman dari kegagalan. Meski dalam skenario terburuk, mesin dan transmisi tidak bakal terputus. Bukannya tidak mungkin untuk dilepaskan, tapi ini merupakan hal yang baik.
Baca juga: Fitur Milik Honda X-ADV Ini Jarang Ada di Motor Sekelasnya
Karena tidak ada lagi penghubung fisik antara tuas dan kopling, Honda bebas membuat gerakan tuas sesuai yang diinginkan. Agar pengendara tetap akrab dengan sistem baru di tuas, paten perusahaan juga menyertakan ‘reactive force generation device’. Hal itu untuk memberikan umpan balik yang sangat realistis kepada pengendara. Dengan harapan kinerja kopling lebih ringan dari biasanya tanpa merasa asing.
Kemajuan teknologi yang merajalela ini tidak dapat dihindari. Tetapi tidak banyak pabrikan yang bisa menerapkan teknologi ini kepada produknya. Sistem ini terbilang rumit dan terlalu banyak biaya produksi. Fitur ini pastinya lebih mahal dibanding yang digerakkan oleh kabel atau bahkan kopling hidrolik konvensional. Itulah mengapa mungkin hanya disediakan untuk model Honda yang lebih premium, seperti versi manual dari Gold Wing dan Africa Twin - jika benar diproduksi.

Di lain sisi, semua kompleksitas itu adalah peningkatan aplikasi. Selain menawarkan aksi kopling yang lebih ringan, sistem Cluth by wire juga dapat terintegrasi dengan perangkat elektronik lain. Seperti Launch Control, Quickshifter, wheelie control, maupun cornering stability control. Ia juga bisa memfasilitasi semacam sistem anti-stall, untuk menyelamatkan pengendara dari rasa malu.
Untuk diketahui, sepeda produksi pertama yang mendapatkan throttle ride-by-wire adalah Yamaha YZF-R6 2006. Pada dasarnya teknologi ini menggantikan peran kabel fisik atau kabel baja pilin yang menghubungkan antara grip gas dan klep kupu-kupu (butterfly) dengan sebuah kawat yang membawa sinyal elektronik. Kemudian teknologi yang sama diadopsi oleh hampir setiap pabrikan. (Bgx/Tom)
Sumber: Cycle World
Baca juga: Dapat Ubahan Signifikan, 11 Komponen Ini Bikin Honda CB150R Streetfire Menarik
Model Motor Honda
GIIAS 2025
Tren & Pembaruan Terbaru
- Terbaru
- Populer
Anda mungkin juga tertarik
- Berita
- Artikel feature
Motor Unggulan Honda
- Terbaru
- Populer
Video Motor Honda Terbaru di Oto
Artikel Motor Honda dari Zigwheels
- Motovaganza
- Review
- Artikel Feature