BMW Motorrad Kembangkan Sasis Karbon Menyatu dengan Swing Arm
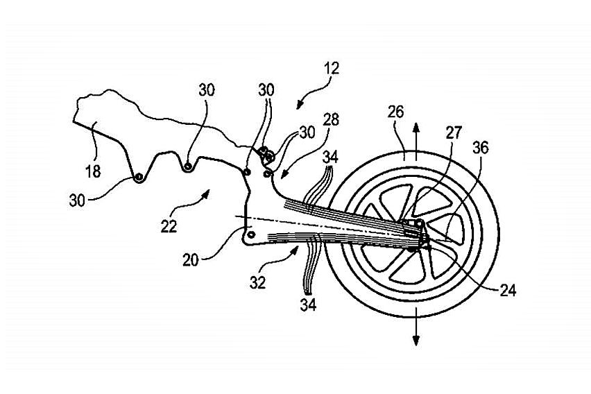
BMW Motorrad kembali berinovasi dengan mambuat frame kit dari serat karbon. Namun paten yang ditunjukkan kali ini berbeda, lebih modern dan canggih. Dari gambar yang tersiar, terlihat sasis menyatu dengan lengan ayun atau swing arm. Tidak ada lagi engsel atau pivot, benar-benar terintegrasi menjadi satu bagian.
The Bavarian telah membuktikan bahwa ia adalah pionir dalam penggunaan frame sepeda motor berbahan serat karbon. Mulanya dimunculkan untuk model HP4 Race edisi terbatas yang khusus dibuat balap. Rangka pada motor itu hanya berbobot 7,8 kg. Bahkan pada 2018 BMW Motorrad memenangkan JEC Innovation Award untuk pengembangan dan pembuatan swingarm dari carbon fiber-reinforced plastics (CFRP). Sekarang perusahaan sedang mengerjakan kerangka generasi berikutnya yang membuang poros swing arm konvensional.

Paten terbaru BMW menunjukkan pendekatan yang radikal dengan mengintegrasikan swing arm ke dalam sasis utama. Serat karbon direkayasa menjadi kaku di beberapa titik dan fleksibel di arah lain. Hal itu memungkinkan lengan ayun yang menekuk untuk menyerap benturan. Peredam kejut konvensional kemungkinan masih digunakan, karena komponen lentur itu tidak dapat memberikan semua redaman yang diperlukan, bahkan di trek balap. Dan yang lebih penting, pengaturan suspensi tetap ada agar memberikan efek pegas pada porsinya.
Seperti kita tahu, graphite fiber dan bahan ringan lainnya adalah hal lazim dalam dunia desain sepeda motor. Komponen itu memiliki berbagai manfaat. Biasanya untuk penanganan pengereman, akselerasi, penghematan bahan bakar, dan emisi. Sifat kekakuannya juga sangat diminati pabrikan, karena bobotnya yang ringan dan kekuatan yang tinggi.
Baca juga: BMW F 900 R Dijual Rp 380 Juta, Incar Kompetitor Jepang dan Eropa Sekaligus
Tapi ini bukanlah ide yang sepenuhnya baru. Mobil balap bahkan pesawat terbang telah lama menggunakan fleksibilitas serat karbon. Piranti ini sering kali menempel pada sasis, agar dapat meningkatkan kekuatan, aerodinamika, dan mengurangi bobot.
Dr. Joachim Starke yang bertanggung jawab atas komposit ringan BMW mengatakan, peranti ini menggabungkan kualitas teknis yang optimal, manufaktur canggih dan efisiensi biaya untuk pertama kalinya. Proyek pada HP4 Race menjadi dasar untuk penggunaan serat karbon dalam produksi massal sepeda motor dan mobil Bayerische Motoren Werke.

Pabrikan asal Jerman ini juga telah menggunakan teknologi carbon fiber dan komponen karbon pada jajaran mobil massalnya, seperti M3 CSL, i8 dan i3. Tidak menutup kemungkinan kendaraan BMW lain juga mengintegrasikan komponen struktural karbon seperti 'Carbon' Core 'pada Seri 7. Dalam waktu dekat, pihaknya juga dikabarkan sedang mengembangkan kerangka karbon penuh pada S1000 RR.
Seperti halnya semua paten, ini tidak menjamin BMW akan membuatnya dalam produksi massal. Namun lebih ke arah melindungi kekayaan intelektual agar tidak dibajak oleh pihak lain. Tapi jika teknologi ini dipasang pada sepeda motor, kemungkinan besar menjadi penerus HP4 Race.
Sejarah Serat Karbon pada Motor
Konstruksi dari bahan ringan ini telah berkembang pesat sejak pertama kali digunakan Cagiva untuk model C194 500 cc 2-tak pada 1994. Ia menampilkan sasis yang terbuat dari serat karbon dan paduan bahan lain. Sayang kuda besi asal Italia itu berumur pendek karena proses produksi yang mahal di zamannya.

Penggunaan graphite fiber di sepeda motor lain yang terkenal yaitu pada sasis Britten V1000. Motor asal Selandia Baru itu dirancang dan dibuat dengan tangan oleh Kiwi John Britten. Ia merupakan seorang insinyur mekanik brilian. Mahakaryanya mendulang sukses dan berhasil meraih kemenangan di beberapa balapan kelas internasional.
Dan hingga saat ini serat karbon digunakan secara luas di berbagai kejuaraan motorsport, contohnya MotoGP. Untuk di sepeda motor, sudah banyak pabrikan yang mengaplikasikan. Selain BMW HP4 Race, ada pula Ducati dan MV Agusta serta beberapa pabrikan Jepang. (Bgx/Tom)
Sumber: Bennetts, Visordown
Baca juga: Bocoran Desain Motor Listrik Beratap BMW Motorrad
GIIAS 2025
Tren & Pembaruan Terbaru
- Terbaru
- Populer
Anda mungkin juga tertarik
- Berita
- Artikel feature
Motor Pilihan
- Terbaru
- Yang Akan Datang
- Populer
Video Motor Terbaru di Oto
Artikel Motor dari Zigwheels
- Motovaganza
- Tips
- Review
- Artikel Feature