Kawasaki Patenkan Teknologi Injeksi Ganda
Injeksi bahan bakar langsung atau Direct Fuel Injection telah menjadi bahan pokok teknologi mesin mobil selama beberapa tahun terakhir. Dan kini sudah masuk ke eranya kendaraan roda dua. Tahun lalu, Honda mengajukan permohonan paten untuk generasi baru mesin injeksi. Sekarang giliran Kawasaki ikut menerbitkan aplikasi paten terkait dengan sistem pengabutan. Namun pabrikan yang bermarkas di Minato, Jepang, punya inovasi yang lebih canggih lagi, yakni berupa sistem injeksi ganda.
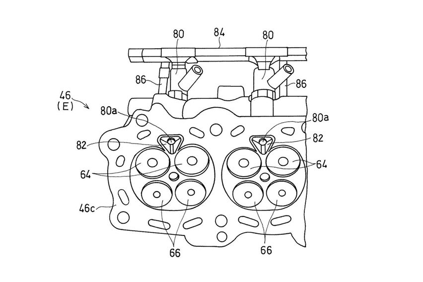
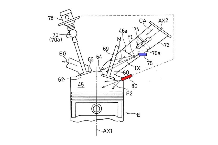
Dorongan untuk menghasilkan mesin yang ramah lingkungan, efisien namun tetap memberikan performa tinggi, coba dijawab Kawasaki. Mereka saat ini tengah menciptakan sistem pengabutan yang memadukan asupan bahan bakar di lokasi konvensional (port) dan satunya berada di ruang bakar. Blue print yang dipatenkan ‘geng hijau’ tampaknya bakal diterapkan pada mesin supercharger. Karakteristik enjin superkencang itu berpadu dengan sistem injeksi yang inovatif. Mereka menganggap pembaruan ini dapat melewati batasan emisi Euro 6.

Seperti diketahui, port injector yang digunakan oleh hampir setiap sepeda motor modern, sudah cukup baik. Tapi injeksi langsung ke dalam ruang bakar dapat menghindari masalah keluarnya bensin yang tidak terbakar, dan memungkinkan campuran bahan bakar dengan udara lebih ramping untuk meningkatkan kinerja mesin. Keuntungan lain mampu membantu mendinginkan ruang bakar, mencegah gejala ngelitik atau knocking. Metode itu juga dapat lebih akurat memantau campuran udara dan bahan bakar, karena bensin disemprotkan dengan rapi.
Tapi banyak yang beranggapan kalau sistem injeksi langsung masih sulit bekerja dengan baik di putaran tinggi. Katup variabel (Variable Valve Timing) adalah satu teknologi yang dimaksudkan untuk mengatasi masalah ini. Dan berkat perpaduan sistem injeksi ganda, kondisi motor senantiasa optimal di segala kondisi. Sama seperti sistem injeksi di port, penyemprotan bensin di ruang bakar tetap mengacu dari ECU (Engine Control Unit) sebagai otak pengontrol.
Baca Juga: Kawasaki Batalkan Peluncuran Ninja ZX-25R di KBW 2020 Akibat Corona
Menurut paten, port injector yang diberi makan oleh elektric pump konvensional, beroperasi pada 44 psi (3 bar), sedangkan injeksi langsung berjalan pada 1.450 psi (100 bar). Angka itu sebenarnya cukup rendah untuk sistem Direct Fuel Injection yang biasa beroperasi sekitar 2.900 psi (200 bar) di mobil. Kemungkinan hasil itu telah disesuaikan untuk kebutuhan motor. Makanya metode ini hanya disematkan pada mesin berperforma tinggi milik Kawasaki.
Sebetulnya ini bukan ide yang benar-benar baru. Perusahaan mobil, termasuk Toyota, telah mengembangkan mesin yang menampilkan apa yang disebut injeksi "ganda". Sejak era 50-an, sistem semacam ini sudah digunakan. Merek besar seperti VW / Audi juga melakukan hal serupa, tetapi belum pernah terlihat pada roda dua sebelumnya. Di masa sekarang, karena tuntutan untuk menghasilkan mesin yang lebih ramah lingkungan, membuat produsen kendaraan roda dua juga ikut bereksperimen hingga menemukan patennya masing-masing.

Sejauh ini pabrikan ‘sayap kepak’ juga telah mematenkan sistem injeksi langsung. Tapi Kawasaki datang dengan teknologi lebih kompleks karena menggabungkan injeksi bahan bakar langsung dan di port injector. Namun hingga saat ini belum ada informasi teknologi siapa yang lebih baik. Bisa kita ketahui bersama jika kedua merek ini telah memproduksi massal hasil patennya. Layak ditunggu. (Bgx/Tom)
Sumber: Cycleworld, Bennetts
Baca Juga: Wah, Pesanan Ninja ZX-25R di Diler Ini Sudah Lebih dari 40 Unit!
GIIAS 2025
Tren & Pembaruan Terbaru
- Terbaru
- Populer
Anda mungkin juga tertarik
- Berita
- Artikel feature
Motor Pilihan
- Terbaru
- Yang Akan Datang
- Populer
Video Motor Terbaru di Oto
Artikel Motor dari Zigwheels
- Motovaganza
- Tips
- Review
- Artikel Feature