Kawasaki Kembangkan Teknologi Hidrogen Cair untuk Motor

Hidrogen cair jawaban atas tantangan efisiensi energi

Kawasaki Kembangkan Teknologi Hidrogen Cair untuk Motor

Kawasaki terus melanjutkan ambisinya dalam menghadirkan sepeda motor berbahan bakar hidrogen. Upaya ini menjadi salah satu langkah penting dalam mencari alternatif selain bahan bakar fosil dan listrik. Namun, pengembangan tersebut tidak berjalan mulus karena menghadapi tantangan besar, terutama pada ukuran tangki bahan bakar.

KEY TAKEAWAYS

  • Apa itu teknologi hidrogen cair pada sepeda motor Kawasaki?

    Teknologi hidrogen cair adalah sistem bahan bakar alternatif dengan kepadatan energi lebih tinggi dibanding hidrogen gas, sehingga berpotensi meningkatkan efisiensi dan jarak tempuh motor.
  • Apa tantangan utama penggunaan hidrogen cair di motor?

    Tantangan terbesar adalah menjaga suhu sangat rendah agar tetap cair serta mencegah penguapan bahan bakar dalam waktu singkat.
  • Secara teori, hidrogen memiliki keunggulan dari sisi energi. Jika dihitung berdasarkan massa, hidrogen mampu menghasilkan sekitar 120 megajoule per kilogram. Angka ini tiga kali lebih tinggi dibandingkan bensin. Meski demikian, masalah muncul saat energi dihitung berdasarkan volume. Bahkan dalam kondisi terkompresi hingga 700 bar, hidrogen hanya memiliki sekitar 5,6 megajoule per liter. Sebagai perbandingan, bensin mampu mencapai 32 megajoule per liter.

    Perbedaan ini membuat kebutuhan ruang penyimpanan hidrogen menjadi jauh lebih besar. Untuk menyamai energi dari tangki bensin 4 galon, sepeda motor hidrogen membutuhkan kapasitas sekitar 24 galon. Artinya, ukuran tangki bisa mencapai enam kali lipat lebih besar. Bentuk tangki pun tidak fleksibel karena harus dibuat silinder atau bola agar mampu menahan tekanan tinggi. Hal ini menyulitkan proses desain motor agar tetap proporsional dan ergonomis.

    Kondisi tersebut menjadi alasan mengapa prototipe motor hidrogen supercharged milik Kawasaki memiliki dimensi besar. Bahkan dengan ukuran tersebut, jarak tempuhnya masih dianggap belum ideal.

    Paten Kawasaki Hydrogen Photo: Kawasaki - Cycleworld

    Sebagai solusi, Kawasaki mulai melirik penggunaan hidrogen cair. Teknologi ini menawarkan kepadatan energi lebih tinggi dibandingkan hidrogen terkompresi. Dalam bentuk cair, hidrogen memiliki energi sekitar 8,5 megajoule per liter. Walau masih di bawah bensin, angka ini jauh lebih baik dibandingkan versi gas bertekanan tinggi.

    Penggunaan hidrogen cair juga mengurangi kebutuhan tekanan ekstrem dalam tangki. Namun, tantangan baru muncul dalam hal penyimpanan suhu. Hidrogen harus dijaga pada temperatur sangat rendah, yakni sekitar -423°F atau setara -253°C agar tetap berada dalam bentuk cair. Oleh karena itu, tangki harus dilengkapi sistem insulasi khusus. Bentuknya tetap cenderung bulat atau oval untuk meminimalkan luas permukaan serta menjaga suhu tetap stabil.

    Selain masalah penyimpanan, Kawasaki juga menghadapi kendala pada sistem distribusi bahan bakar. Pada hidrogen bertekanan tinggi, aliran bahan bakar bisa langsung terjadi karena tekanan dalam tangki mencapai 700 bar. Namun pada hidrogen cair, tekanan tersebut tidak tersedia secara alami.

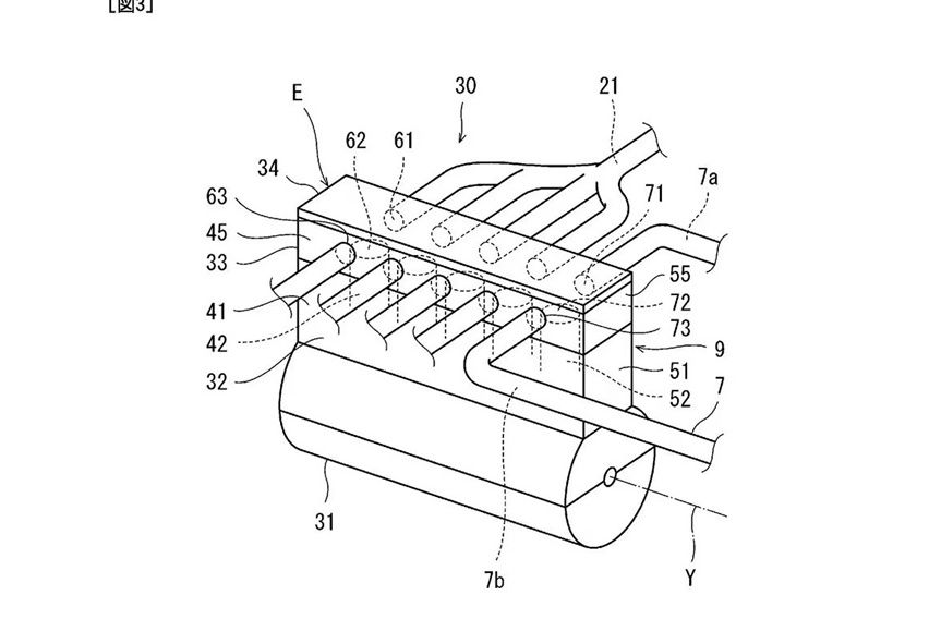
    Untuk mengatasi hal ini, Kawasaki mengembangkan sistem pompa bahan bakar khusus melalui paten terbaru. Desain tersebut menggunakan dua pompa. Pompa pertama berupa unit putar (rotary pump), sedangkan pompa kedua berbentuk piston tambahan terintegrasi dalam mesin.

    silinder segaris dengan satu pompa Photo: Kawasaki - Cycleworld

    Dalam ilustrasi paten, terlihat konfigurasi mesin menyerupai lima silinder segaris. Padahal sebenarnya itu merupakan mesin empat silinder dengan satu silinder tambahan berfungsi sebagai pompa. Bahkan terdapat juga konsep mesin V-8 dengan dua silinder tambahan sehingga tampak seperti V-10.

    Sistem kerjanya dimulai dari tangki penyimpanan hidrogen cair. Bahan bakar kemudian dialirkan ke vaporizer untuk meningkatkan suhu hingga berubah menjadi gas. Setelah itu, hidrogen masuk ke pompa putar sebelum diteruskan ke pompa piston. Pompa terakhir inilah yang meningkatkan tekanan hingga sekitar 1.500 psi atau lebih, sehingga memungkinkan proses injeksi langsung ke ruang bakar.

    Teknologi ini dinilai mampu mengatasi salah satu kelemahan utama hidrogen cair. Meski begitu, tantangan besar masih tersisa, terutama dalam menjaga suhu bahan bakar agar tetap stabil. Pengalaman BMW saat mengembangkan mobil hidrogen pada periode 2005 hingga 2007 menunjukkan bahwa hidrogen cair memang lebih efisien sekitar 75 persen dibandingkan versi gas. Namun, bahan bakar tersebut tetap mengalami penguapan dalam waktu 10 hingga 12 hari, bahkan dengan sistem insulasi terbaik.

    silinder segaris dengan satu pompa Photo: Kawasaki - Cycleworld

    Secara konsep, penggunaan hidrogen pada mesin pembakaran memiliki daya tarik besar. Emisi yang dihasilkan sangat rendah, dengan gas buang utama berupa uap air. Hal ini menjadikannya salah satu solusi potensial untuk masa depan otomotif ramah lingkungan.

    Namun untuk saat ini, teknologi tersebut masih menghadapi berbagai keterbatasan, khususnya dalam penerapan pada sepeda motor. Faktor efisiensi, ukuran komponen, serta daya tahan penyimpanan menjadi hambatan utama. Dengan kondisi tersebut, hidrogen cair masih membutuhkan waktu sebelum benar-benar bisa menjadi alternatif praktis bagi bensin maupun kendaraan listrik. (BGX/ODI)

    Sumber: Cycleworld

    Baca Juga:

    Yamaha dan Kawasaki Berkolaborasi untuk Membuat Mesin Hidrogen

    Kawasaki Bermitra dengan Toyota untuk Kembangkan Mesin Hidrogen

    Kawasaki KLE500 Meluncur di Indonesia, Adventure Bike Bergaya Rally dengan Harga Terjangkau

    Zenuar Yoga

    Zenuar Yoga

    Zenuar 'Bgenk' Yoga adalah salah satu jurnalis otomotif berpengalaman di Indonesia. Spontanitas dan suaranya yang lantang memberi warna kemanapun dia pergi. Keseharian, Yamaha Nmax jadi andalan mobilitas ke kantor atau untuk peliputan. Pengalaman berkendara dan pengetahuan di bidang otomotif roda dua membuatnya kerap ditunjuk sebagai road captain saat Forum Wartawan Otomotif melakukan kegiatan touring. 

    Baca Bio Penuh

    Model Motor Kawasaki

    • Kawasaki KX 65
      Kawasaki KX 65
    • Kawasaki W175
      Kawasaki W175
    • Kawasaki Ninja ZX-25R
      Kawasaki Ninja ZX-25R
    • Kawasaki Ninja 250
      Kawasaki Ninja 250
    • Kawasaki KLX 150 SM
      Kawasaki KLX 150 SM
    • Kawasaki KLX 150
      Kawasaki KLX 150
    • Kawasaki D-Tracker
      Kawasaki D-Tracker
    • Kawasaki KLX 140R
      Kawasaki KLX 140R
    • Kawasaki Z125 PRO
      Kawasaki Z125 PRO
    • Kawasaki KLX 150 SM SE
      Kawasaki KLX 150 SM SE
    Harga Motor Kawasaki

    IIMS 2026

    Tren & Pembaruan Terbaru

    Anda mungkin juga tertarik

    • Berita
    • Artikel feature

    Motor Unggulan Kawasaki

    • Yang Akan Datang

    Video Motor Kawasaki Terbaru di Oto

    Oto
    • Kawasaki Versys 1100, Pembaruan Esensial untuk Motor Adventure
      Kawasaki Versys 1100, Pembaruan Esensial untuk Motor Adventure
      05 Nov, 2024 .
    • Jajal Kawasaki Listrik Ninja e-1 dan Z e-1, Seberapa Pantas Dibeli?
      Jajal Kawasaki Listrik Ninja e-1 dan Z e-1, Seberapa Pantas Dibeli?
      21 May, 2024 .
    • Kawasaki Ninja ZX-4RR, Lebih Mahal Rp100 Jutaan dari ZX-25R, Menarik Buat Dibeli?
      Kawasaki Ninja ZX-4RR, Lebih Mahal Rp100 Jutaan dari ZX-25R, Menarik Buat Dibeli?
      31 Mar, 2023 .
    • Kawasaki KLX150SM, Asik Buat Riding di Perkotaan - First Impression
      Kawasaki KLX150SM, Asik Buat Riding di Perkotaan - First Impression
      21 Mar, 2023 .
    • Kawasaki KLX 230, Tinggal Pilih Mau Trail atau Supermoto | First Impression
      Kawasaki KLX 230, Tinggal Pilih Mau Trail atau Supermoto | First Impression
      17 Jun, 2022 .
    • Kawasaki Ninja ZX-25R | First Ride | Tes Di Sirkuit Sentul | OTO.com
      Kawasaki Ninja ZX-25R | First Ride | Tes Di Sirkuit Sentul | OTO.com
      28 Jul, 2020 .
    • Kawasaki W175TR | First Impression | Lebih Murah, Lebih Jadul | OTO.com
      Kawasaki W175TR | First Impression | Lebih Murah, Lebih Jadul | OTO.com
      29 Nov, 2019 .
    • Kawasaki KLX 230 | First Ride | Bagaimana Impresinya? | OTO com
      Kawasaki KLX 230 | First Ride | Bagaimana Impresinya? | OTO com
      01 Jul, 2019 .
    • Kawasaki KLX 230 | First Impression | Pertama Di Dunia | OTO com
      Kawasaki KLX 230 | First Impression | Pertama Di Dunia | OTO com
      23 May, 2019 .
    • Kawasaki W175 Cafe 2019 | First Impression | Apa Saja Bedanya? | OTO.com
      Kawasaki W175 Cafe 2019 | First Impression | Apa Saja Bedanya? | OTO.com
      17 Jan, 2019 .
    Tonton Video Motor Kawasaki

    Artikel Motor Kawasaki dari Zigwheels

    • Motovaganza
    • Review
    • Artikel Feature
    • KLX230 DF 2026 Hadir dengan Konsep Durable Force
      KLX230 DF 2026 Hadir dengan Konsep Durable Force
      Zenuar Istanto, 15 Des, 2025
    • KMI Luncurkan Kawasaki Z900RS dan Z900RS Cafe Model Year 2026, Kacek Harga Rp12,1 Juta
      KMI Luncurkan Kawasaki Z900RS dan Z900RS Cafe Model Year 2026, Kacek Harga Rp12,1 Juta
      Anjar Leksana, 15 Des, 2025
    • Kawasaki Rilis Z900 MY2026 dengan Warna Baru
      Kawasaki Rilis Z900 MY2026 dengan Warna Baru
      Zenuar Istanto, 02 Sep, 2025
    • Kawasaki Ninja ZX-6R 2026 Resmi Diluncurkan, Intip Spesifikasinya
      Kawasaki Ninja ZX-6R 2026 Resmi Diluncurkan, Intip Spesifikasinya
      Zenuar Istanto, 06 Agu, 2025
    • Kawasaki Rilis KLX230 Sherpa, Trail Siap Jelajah Kota dan Alam Bebas
      Kawasaki Rilis KLX230 Sherpa, Trail Siap Jelajah Kota dan Alam Bebas
      Zenuar Istanto, 24 Jun, 2025
    • Kawasaki KLX 150 BF: Jawaban Klaim Multi-Purpose di Habitat Sebenarnya
      Kawasaki KLX 150 BF: Jawaban Klaim Multi-Purpose di Habitat Sebenarnya
      Eka Zulkarnain H, 12 Nov, 2020
    • Kawasaki Ninja 250SL vs Suzuki Gixxer SF 250, Adu Sporty Fairing Silinder Tunggal
      Kawasaki Ninja 250SL vs Suzuki Gixxer SF 250, Adu Sporty Fairing Silinder Tunggal
      Bangkit Jaya Putra, 15 Nov, 2021
    • Macam-macam Kawasaki KLX, Trail untuk Harian hingga Off-road Serius
      Macam-macam Kawasaki KLX, Trail untuk Harian hingga Off-road Serius
      Zenuar Istanto, 28 Jun, 2021
    • Deretan Kawasaki KLX Series Khusus Pehobi Trail dan Off-road
      Deretan Kawasaki KLX Series Khusus Pehobi Trail dan Off-road
      Zenuar Istanto, 15 Jun, 2021
    • Bedah Trio Trail Kompetisi Kawasaki di Pasar Tanah Air
      Bedah Trio Trail Kompetisi Kawasaki di Pasar Tanah Air
      Helmi Alfriandi, 04 Nov, 2020

    Bandingkan

    You can add 3 variants maximum*