Kawasaki Siapkan (Ninja) Z Series Electric
Ingar-bingar produk motor listrik terus berkumandang. Sejak Viar menawarkan Q1, disusul proyek yang lantas hilang ditelan bumi, Gesits. Berlanjut ke pabrikan besar Honda merilis PCX Electric. Dan kini, Kawasaki nampak mengikuti arus. Tampilannya belum jelas, masih dalam bentuk gambar untuk proses paten. Namun bentuknya sudah nampak, sport naked bike. Bisakah ini ujud Z-Series atau bahkan Ninja Electric tanpa mesin?

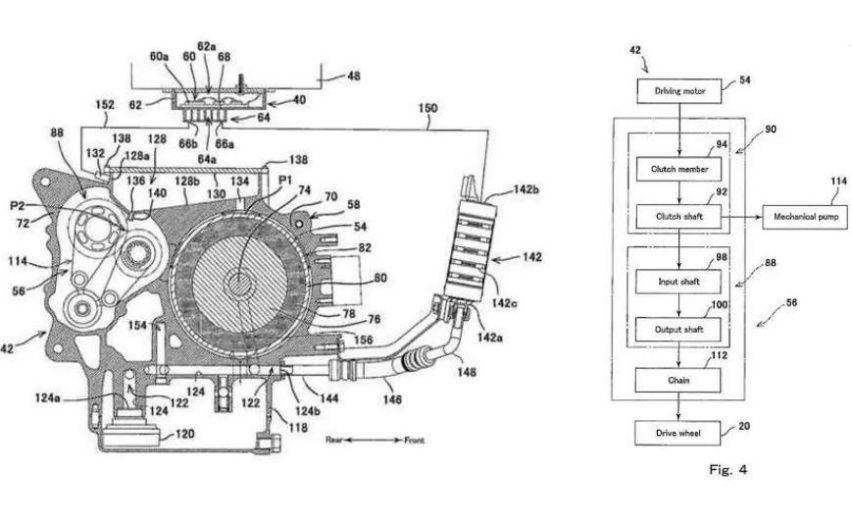
Bisa jadi. Apalagi spesies motor sport listrik sudah masuk ke ajang MotoGP, tepatnya di kelas MotoE, yang masih berbentuk eksebisi. Beberapa hal yang bisa disimpulkan dari gambar dua dimensi itu, adanya girboks.
Sejatinya, komponen pengolah percepatan itu, memang kerap absen di kendaraan listrik, utamanya roda dua. Namun Kawasaki, seperti ingin bereksperimen lebih jauh dari kompetitornya. Hadirnya girboks tentu memungkinkan performa pengendaraan yang lebih sporty, ketimbang pengaliran tenaga langsung dari motor ke roda.
Apa format girboksnya? Manual, dual clutch, otomatis konvensional maupun girboks elektronik, masih belum bisa disimpulkan. Yang jelas, ada bagian yang berfungsi sebagai kopling untuk meredam tenaga, agar sempat terjadi perpindahan gigi. Kami rasa komponen ini pun penting. Kawasaki tentu tak ingin motornya yang terkenal pengendaraan agresif menjadi serasa skuter.

Komponen lain yang patut diperhatikan, air scoop di bagian depan. Ya, biasanya bagian ini ada demi menyediakan suplai udara segar ke bagian mesin. Jika motor listrik tanpa mesin, lantas apa yang perlu didinginkan? Baterai? Atau mungkinkah Kawasaki menerapkan Fuel Cell yang memerlukan proses kimiawi untuk menghasilkan energi listrik? Entahlah.
Yang jelas, sejak gambar ini tertangkap di lini masa, biasanya tinggal tunggu waktu tak sampai setahun, lalu produk pun dirilis. Paling cepat, dalam tempo 6 bulan, motor ini sudah tampak purwarupanya. Atau bahkan, versi produksinya. Kesimpulan bahwa model ini Ninja pun, kami tarik sendiri. Pasalnya, Ninja dan Z Series berbagi basis. Tak heran jika nantinya Z Series Electris yang berbentuk naked bike, hadir dalam format berbalut fairing, alias Ninja.
Untuk diketahui, Kawasaki memang bukan kali pertama menampilkan kepiawaiannya dalam menyajikan kendaraan listrik. Pada 2014 lalu, geng hijau pernah merilis Kawasaki J-Concept, model purwarupa yang sangat nyeleneh dan seolah dikirim dari film fiksi bertema masa depan. Kala itu tak pernah disebut kapan versi produksi maupun kesiapan pabrikan ini untuk menggarap motor listrik.
Seiring perkembangan dunia yang mulai menuntut peralihan dari bahan bakar fosil ke energi terbarukan, pabrikan lain pun berinovasi dengan model-model elektrik konsep mereka. Sejak itu, Kawasaki diam di tempat, atau malah mengerjakan proyek motor listrik diam-diam seperti yang terlihat dari sketsa paten Z-Series/Ninja Electric ini? Kita tunggu saja. (Van/Odi)
Sumber: Visordown
Baca Juga: Kawasaki Sodorkan Ninja 250SL MY 2019 Dengan Harga Khusus dan Warna Baru
Cerita Terkait Kawasaki Z250
- Berita
Model Motor Kawasaki
GIIAS 2025
Tren & Pembaruan Terbaru
- Terbaru
- Populer
Anda mungkin juga tertarik
- Berita
- Artikel feature
Motor Unggulan Kawasaki
- Terbaru
- Yang Akan Datang
- Populer
Video Motor Kawasaki Z250 Terbaru di Oto
Artikel Motor Kawasaki Z250 dari Zigwheels
- Motovaganza
- Tips
- Review
- Artikel Feature