Paten Desain Motor Listrik Honda Berbasis CB125R Tersebar
Honda dikabarkan mengajukan hak paten baru untuk sepeda motor listrik. Menurut gambar yang tersiar, kuda besi niremisi anyar menggunakan basis dari CB125R. Motor bergaya Neo Sports Cafe bertenaga baterai itu sepertinya sudah memasuki tahap akhir pengembangan.
Perusahaan asal Jepang itu memang sedang getol menggarap sepeda motor listrik. Strategi ini mirip dengan yang mereka aplikasikan pada skuter ramah lingkungan, Honda PCX Electric. Mengusung desain dan bentuk yang serupa tapi menggunakan mesin kombusi. Dan kali ini giliran Honda CB125R didapuk menjadi kuda besi niremisi.

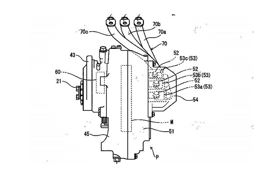
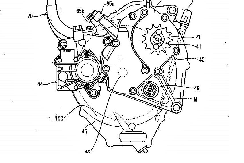
Paten yang beredar memvisualkan bentuk utuh dari motor bertampang neo cafe racer. Alih-alih menggunakan gambar futuristik, justru cukup mirip dengan Honda CB125R yang ada di pasar Eropa. Tampaknya ini merupakan proyek serius, lantaran tata letak komponen yang mengarah ke mesin relatif terjangkau.
Terlihat juga kalau dirinya berbagi komponen sekitar 75 persen dengan Honda CB125R bertenaga bensin. Jika benar, itu dapat menyederhanakan jalur pengembangan dan produksi, mengurangi biaya dan mempercepat masuknya motor ke pasar. Besar kemungkinan motor listrik ini sudah ada di salah satu fasilitas research and development milik Honda.
Baca juga: Honda Ajukan Hak Paten Motocompo Versi Listrik
Jika menilik bentuk dan desainnya, serupa dengan naked bike berkapasitas 125 cc. Suspensi, rangka, hingga pengereman terlihat sama saja dengan Honda CB125R yang saat ini berada di pasaran. Secara keseluruhan mirip, namun yang membedakan adalah bentuk mesin yang menampung drivetrain listrik. Motor penggeraknya diyakini menggunakan material dengan bahan ringan.

Dari paten tersebut juga terlihat adanya gear. Itu berarti penyalur tenaga ke roda belakang menggunakan rantai. Inovasi ini cukup menarik, pasalnya beberapa pabrikan lain masih mengandalkan belt. Hal lazim dilakukan lantaran belt memiliki berat yang ringan, selain itu lebih senyap suaranya dibandingkan rantai.
Performanya boleh jadi lebih rendah dari versi reguler, karena kecepatannya dibatasi sesuai regulasi. Seperti kita tahu, mesin pembakaran konvensional Honda CB125R menghasilkan sekitar 13 hp (10 kW) dan motor ini dapat mencapai kecepatan hingga 80 mph (130 kpj). Versi tenaga listrik kemungkinan menawarkan kecepatan yang sama, tetapi berpotensi akselerasi lebih cepat dan angka torsi lebih tinggi.
Baca juga: Blueprint Honda Super Cub Listrik Bocor, Letak Baterainya Simpel
Sepeda motor listrik ini sebenarnya belum memiliki nama dan belum ada konfirmasi resmi dari pihak pabrikan. Tetapi paten yang tersiar jelas menunjukkan kerangka dan bodi Honda CB125R. Kesan kekar sangat terasa karena penggunaan rangka tubular dengan tambahan cover engine dan knalpot underbelly.

Jika mengadopsi dari versi reguler, headlampnya berbentuk bulat, tangki menjulang ke atas, setang lebar dan pakai sepatbor model menggantung. Seluruh pencahayaan juga sudah menggunakan full LED dan tambahan DRL pada lampu depan.
Dimensinya tidak berbeda juga dengan versi 150 cc. Memiliki ukuran panjang 2.015 mm, lebar 820 mm, dan tinggi 1.055 mm. Sedangkan untuk bobotnya seberat 126 kg. Sementara untuk jarak sumbu rodanya berukuran 1.345 mm dan jarak terendah ke tanah 140 mm. Sayangnya jok motor ini sangat tinggi, yaitu mencapai 816 mm.

Kalau untuk fiturnya, sudah menggunakan suspensi upside down berdiameter besar. membuatnya terlihat lebih berotot dan meningkatkan kestabilan saat dipakai bermanunver. Dirinya juga telah dilengkapi sistem pengereman ABS yang didukung teknologi IMU (Inertial Measurement Unit). Karakteristik tersebut dapat mengoptimalkan kemampuan rem cakram dalam menghentikan laju kendaraan. Dengan begitu pengendaranya bisa terhindar dari kecelakaan yang disebabkan oleh roda yang terkunci. (Bgx/Tom)
Sumber: Bennetts, Visordown
Baca juga: Satu Dekade Transmisi Dual Clutch Honda: Kelanjutan Evolusi Lebih Canggih
GIIAS 2025
Tren & Pembaruan Terbaru
- Terbaru
- Populer
Anda mungkin juga tertarik
- Berita
- Artikel feature
Motor Pilihan
- Terbaru
- Yang Akan Datang
- Populer
Video Motor Terbaru di Oto
Artikel Motor dari Zigwheels
- Motovaganza
- Tips
- Review
- Artikel Feature