Yamaha Bakal Suntik Teknologi Hybrid ke TMax, Ini Bocorannya
Yamaha jadi salah satu produsen motor Jepang yang akhir-akhir ini agresif soal produk listrik. Di Indonesia mereka memulainya dengan Fazzio, sebuah matik yang ditanamkan dengan teknologi hybrid ringan. Namun kabarnya Yamaha akan mengenalkan motor real hybrid yang mengusung 2 penggerak sekaligus yakni tenaga dari mesin internal dan tenaga yang bersumber dari penggerak motor listrik.
KEY TAKEAWAYS
Yamaha TMax DX mendapat kabar bakal jadi hybrid
Ada dua paten yang beredar, namun belum ada kepastian sistem apa yang bakal dipakaiAlasan Yamaha TMax cocok jadi hybrid
Ia jadi salah satu model yang cukup laris di beberapa negara EropaDilaporkan oleh Visor Down, Yamaha tengah mempersiapkan teknologi hibrida pada big skuternya TMAX. Informasinya menyebutkan jika pabrikan sudah mengajukan 2 hak paten dan tak lama lagi akan segera masuk dapur produksi.
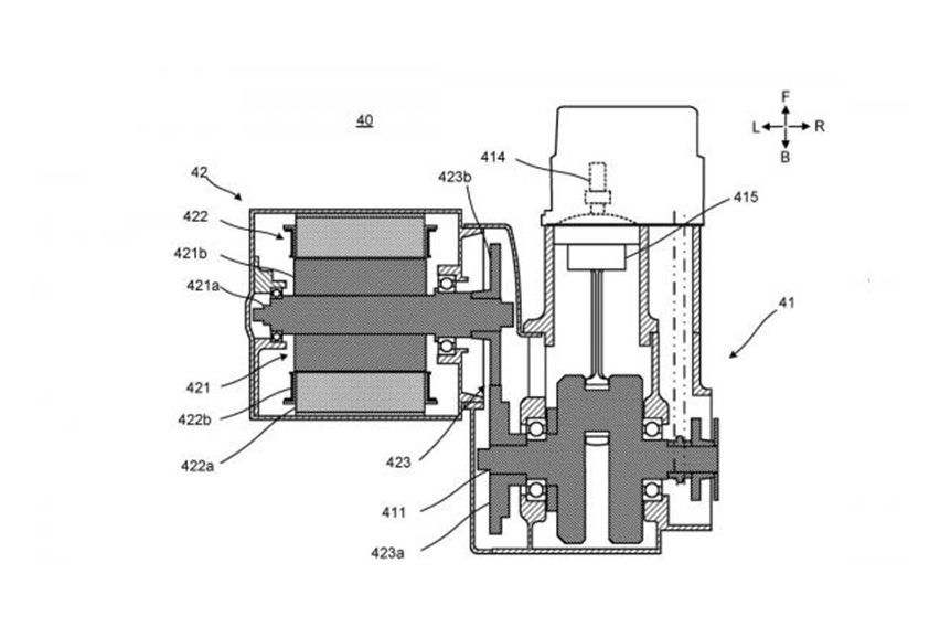
Gambar purwarupa tersebut sedikit mendeskripsikan jika teknologi hybrid mengawinkan mesin internal bahan bakar dan motor listrik yang langsung terkoneksi dengan crankshaft (poros engkol). Perpaduan ini membuat Yamaha tak terlalu banyak melakukan revisi struktur namun tetap memanfaatkan konstruksi yang sudah ada.

Baca juga: Yamaha Nmax 155 Punya Opsi Warna Baru, Cek Harga dan Skema Kreditnya
Sementara rangkaian kedua, teknologi hibrida bakal dicangkok pada lengan ayun dan sistem transmisi motor. Belum ada informasi yang pasti soal sistem mana yang akan digunakan, tentu dengan mengajukan 2 paten ini Yamaha bisa dengan mudah memproduksi motor hybrid sesuai dengan kebutuhan di masing-masing negara.
Terkait mengapa Yamaha TMAX yang dipilih untuk dibenamkan teknologi hybrid, kembali lagi soal minat pasar. Motor ini terbilang laris manis di beberapa negara Eropa, apalagi dimensi dan ruang yang besar bisa mengakomodasi penambahan komponen baterai.

Kendati demikian, ada yang hal yang harus dikorbankan yakni memangkas kapasitas bagasi. Penanaman teknologi hybrid pada skutik gambot Yamaha saat ini jauh lebih relevan ketimbang model lainnya seperti sport naked atau motor bebek.
Motor Listrik Yamaha
Selain motor hybrid, Yamaha juga berekspansi ke motor listrik murni. Pada 17 Mei 2021 lalu, pabrikan mematenkan purwarupa motor matik listrik E01 yang saat itu diperkenalkan pada gelaran Tokyo Motor Show 2019.

Yamaha mendaftarkan E01 di European Union Intellectual Property Office (EUIPO) sebagai perlindungan dari tindakan plagiat desain dan juga teknologi. Skutik listrik ini sedikit punya kemiripan dengan NMax, hanya saja karena memang motor konsep tampilan dan bentuknya sangat kental dengan desain futuristik.
Misalnya dari bagian muka sampai ke buritan serba lancip dan dipadukan dengan lekuk bodi yang gambot. Pada bagian kaki-kaki juga terlihat kekar khususnya di bagian roda belakang, karena sudah mengusung swing arm dan juga suspensi monoshock.
Tak cuma mematenkan E01, Yamaha juga mengajukan paten dari skutik listrik EC-05. Kelebihan dari motor ini, dia bisa melakukan swab baterai sehingga lebih praktis dan mudah dalam penggunaannya. (Kit/Tom)
Sumber: Visordown
Baca juga: Bukan Cuma Yamaha Fazzio, Ini 10 Motor Hybrid yang Eksis di Dunia
Cerita Terkait Yamaha TMAX DX
- Berita
- Artikel feature
- Review Redaksi
Model Motor Yamaha
GIIAS 2025
Tren & Pembaruan Terbaru
- Terbaru
- Populer
Anda mungkin juga tertarik
- Berita
- Artikel feature
Motor Unggulan Yamaha
- Terbaru
- Yang Akan Datang
- Populer
Video Motor Yamaha TMAX DX Terbaru di Oto
Artikel Motor Yamaha TMAX DX dari Zigwheels
- Motovaganza
- Artikel Feature