Kawasaki Kembangkan Girboks Semi Otomatis Elektronik, Apa Bedanya dengan DCT Honda?
Perang teknologi terus terjadi di antara para pabrikan sepeda motor. Salah satunya adalah di bidang mesin dan girboks. Honda saat ini menjadi merek yang mengaplikasikan sistem girboks semi otomatis dua kopling ke line up big bike milik mereka. Keunggulan ini bisa jadi milik Honda. Tapi pabrikan lain tentunya tak mau tinggal dia. Kawasaki dikabarkan mulai melakukan pengembangan sistem serupa. Namun dengan mekanisme lebih canggih dan menyenangkan.
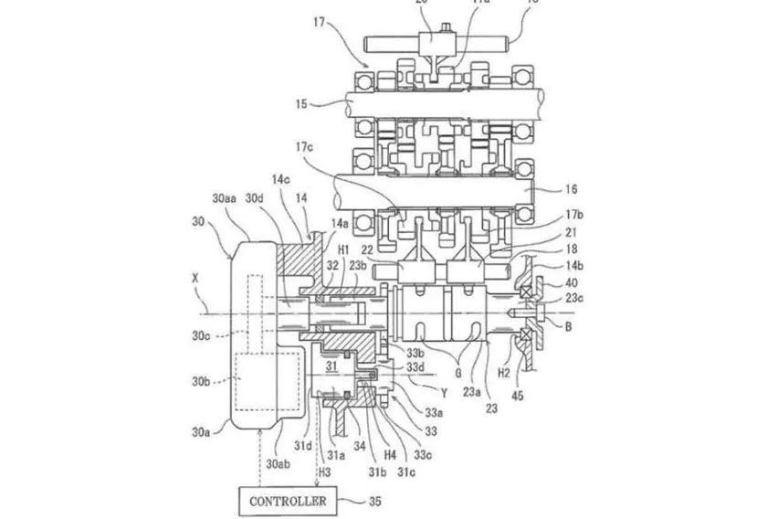
Teknologi itu terungkap dari sketsa yang dimasukkan untuk mendapatkan paten. Sebuah rangkaian transmisi baru secara detail dipaparkan. Hingga komponen-komponen terkecil. Menariknya, tak ada perangkat keras seperti as atau sejenisnya. Semua dioperasikan lewat pesan elektronik. Alias mengandalkan sensor.
Jika dibandingkan, apa yang disiapkan Kawasaki beda total dengan DCT milik Honda. Memindahkan posisi gear dari sentuhan tombol rasanya bukan selera semua orang. Ada naluri roda dua yang hilang. Proses transisi gigi sekadar dimainkan jemari. Malah bisa didiamkan ketika masuk mode Drive.
Kawasaki nampaknya sadar betul, pengendara motor besar masih mengharapkan rasa berkendara selayaknya motor konvensional. Namun dengan bantuan teknologi canggih. Maka dari itu perseneling alias tuas gigi masih ada di sisi kiri. Bedanya, semua itu mengandalkan komputasi rumit.
Tidak ada hubungan fisik antara shifter dengan girboks. Sepenuhnya dikuasai komponen elektronik. Atau disebut shift-by-wire. Tentunya adrenalin bakal lebih terpacu ketika masuk mode manual memindahkan lewat pedal, kendati tanpa tuas kopling di tangan. Masih terasa nyata. Dan saat hendak berkendara santai, tinggal pindahkan ke mode otomatis. Sama seperti DCT Honda prinsipnya.
Kelebihan bisa didapat jika nanti diaplikasikan, handling motor bakal lebih optimal. Terutama untuk jenis adventure dan cruiser. Tanpa perlu sulit mengatur banyak komponen, pengendara bisa fokus pada genggaman stang, sekaligus bermanuver. Secara bersamaan intuisi terhadap model pindah gigi konvensional masih bisa dirasakan.
Memang ini tak akan jadi pekerjaan mudah bagi Kawasaki. Lantaran butuh effort lebih buat menyelaraskan gerakan tuas dan realitasnya di dalam girboks. Momentumnya tak boleh telat, sementara tak ada sentuhan fisik sama sekali. Tapi keuntungan dari model begini, posisi shifter bisa diletakkan leluasa. Di manapun para desainernya mau. Sehingga posisi duduk dapat diset se-ergonomis mungkin tanpa perlu mengacu letak mesin dan transmisi.
Baca juga: Motor Baru Honda Meluncur Akhir Pekan, Pengganti PCX150?

Girboks Semi Otomatis Honda di Tanah Air
Kawasaki belum sampai ke tahap realisasi teknologi girbok semi otomatis ke produk tertentu. Jika Anda tak terbayang, mungkin beberapa motor ini bisa jadi acuan. Tentunya hampir semua diwakili oleh pabrikan logo sayap burung. X-ADV, Africa Twin, serta Gold Wing. Mereka bertiga boleh dibilang representasi dari kecanggihan teknologi Honda.
Semisal Honda X-ADV. Ia merupakan satu-satunya skuter bertema adventure, serta memiliki kemampuan bak motor tualang nyata. Di antara rekan “dua kopling”, ADV-lah yang memiliki banderol termurah, Rp 450 juta OTR Jakarta.
Walaupun paling bontot, perlengkapannya tak main-main. Di balik bodi kekar terkandung mesin dua silinder 745 cc DOHC PGM-FI berpendingin cairan. Tenaga 54 Hp dengan mudah keluar di 6.250 rpm dan torsi 68 Nm muncul mulai 4.750 rpm. Bukan angka kecil.
Di samping girboks otomatis enam percepatan kopling ganda, terpasang pula alat komputasi canggih. Mulai dari Honda Selectable Traction Control (HSTC) sang penjinak putaran roda, mode berkendara, sampai G-Switch untuk menuntaskan jalur kerikil atau medan berat sejenisnya. Kemampuannya lebih dari sekadar skuter biasa. Bahkan kaki-kaki Showa memiliki jarak main panjang dan mumpuni untuk sedikit disiksa.
Berikutnya ada CRF1100L Africa Twin, adventure flagship pabrikan sayap burung. Meski dijual lebih mahal dari ADV, di kelasnya ia termasuk ekonomis. Paling tidak jika dibandingkan BMW R 1200 GS dan kawan-kawan Eropa lain. Nilai jual varian DCT hanya Rp 599 juta OTR Jakarta.
Baca juga: Batal Punah, Generasi Baru Kawasaki KLR650 Segera Diperkenalkan

Teknologi yang disebut pada ADV terkandung di sini. Bedanya beberapa komponen elektronik lebih advance. Begitu juga soal geometri struktur dan kaki-kaki, serta dimensi ramping agar relevan diajak bertualang ekstrem.
Dapur pacu terbaru Africa Twin makin bertenaga dari versi sebelum. Kubikasi dinaikkan, volume bersihnya jadi 1.084 cc dengan konfigurasi dua silinder paralel SOHC. Alhasil ekstraksi daya genap melontar 100 Hp/7.500 rpm serta torsi maksimal 105 Nm keluar di 6.000 rpm. Bobotnya juga berkurang 5 kg, sehingga impresi tenaga seharusnya makin optimal di lapangan.
Lantas terakhir adalah Gold Wing, raja dari segala Honda. Cruiser bongsor ini menjadi paket lengkap seluruh teknologi mereka. Senantiasa memberi kenyamanan ekstra bagi yang rela mengocek kantong dalam-dalam, lantaran harganya mencapai Rp 1,071 miliar.
Bukan lagi dua atau empat piston, ia menggendong mesin enam silinder boxer berkubikasi 1.833 cc. Mudah melontar tenaga 124 Hp/5.500rpm dan torsi 170 Nm/4.500 rpm ke roda belakang. Tentu penyaluran daya dilakukan transmisi otomatis 7-speed dengan Dual Clutch Transmission (DCT). Alhasil, perpindahan gigi jauh lebih halus sekaligus cepat. Dan satu lagi yang unik, gigi mundur tersedia mengingat bobotnya sangat berat.
Perangkat entertainment lengkap. Konektivitas gawai dipermudah sistem Apple CarPlay dari monitor TFT besarnya. Jangan tanya soal sajian data di dalam, sampai tekanan angin ban saja diinformasikan. Bahkan hill start assist, cruise control, heated grip, sampai kontrol windshield elektronik ada. (Hlm/Raju)
Sumber: Visordown
Baca juga: Hayaidesu Rilis Pelindung Bodi Buat Yamaha MT-15, Harga Mulai Rp 100 ribu
Model Motor Kawasaki
GIIAS 2025
Tren & Pembaruan Terbaru
- Terbaru
- Populer
Anda mungkin juga tertarik
- Berita
- Artikel feature
Motor Unggulan Kawasaki
- Terbaru
- Yang Akan Datang
- Populer
Video Motor Kawasaki Terbaru di Oto
Artikel Motor Kawasaki dari Zigwheels
- Motovaganza
- Review
- Artikel Feature