Paten Motocross Listrik Yamaha Beredar, Tetap Pakai Kopling?
Banyak inovasi agar sensasi motocross tetap terjaga
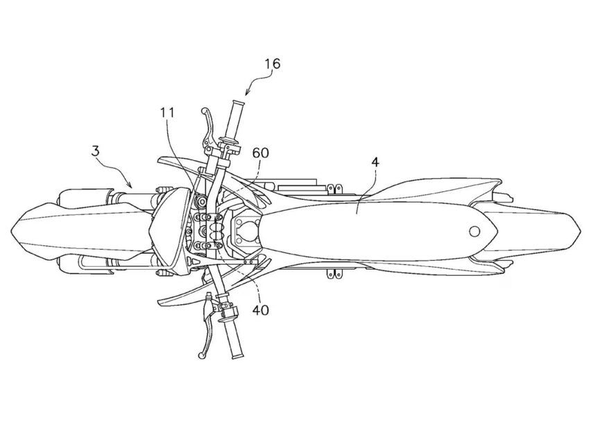
Bulan lalu Yamaha diketahui memiliki permohonan paten baru terkait motorcross. Alih-alih menggunakan mesin konvensional, perusahaan asal Jepang justru mengembangkan motorcross listrik. Dalam dokumen yang tersebar, dijelaskan terkait cara kerja transmisinya.
Paten asli menunjukkan detail transmisi yang mirip dengan motor listrik Yamaha, TY-E. Menghilangkan kopling dan diganti dengan girboks satu kecepatan yang dipadukan dengan flywheel sebagai penyimpan tenaga.
Intinya, pengendara dapat menggunakan motor untuk menjaga agar flywheel tetap berputar cepat saat kopling ditarik masuk, lalu melepaskan seluruh energi yang tersimpan dalam satu hentakan kopling. Alternatifnya, torsi dapat dimodulasi dengan sangat hati-hati menggunakan kopling sambil menjaga flywheel berputar cepat untuk membantu menjaga keseimbangan.

Ada dua tujuan dalam penggunaan komponen tersebut. Pertama, pegas akan membantu melunakkan respons cepat motor listrik. Kedua, pegas dapat digunakan untuk menyimpan energi sementara.
Saat pengendara melepaskan throttle, pegas akan memampatkan dan menyimpan energi. Kemudian, mereka diperluas lagi untuk melepaskan energi, yang dikombinasikan dengan output maksimum motor buat memberikan dorongan tenaga dalam waktu singkat. Seperti membantu rider mengangkat roda depan.
Baca Juga: Bangkitkan Nilai Sejarah Balap, Yamaha Rilis XSR900 GP
Paten baru Yamaha juga menjelaskan beberapa aspek mengenai keamanan baterai. Seperti kita tahu, motocross selalu dekat dengan lumpur, debu dan air. Namun dalam dokumen dijelaskan kalau baterai dan transmisinya kedap air untuk memastikan cairan tidak dapat masuk ke dalamnya.
Untuk mengatasi perubahan tekanan atau melepaskan kondensasi yang mungkin menumpuk di dalam motor, baterai atau kotak kontrol elektronik, dibuatkan satu set pernafasan yang berada tepat di belakang kepala kemudi sepeda motor. Berfungsi juga untuk mencegah air masuk kembali saat sepeda dicuci dengan tekanan atau terendam.

Artinya, meskipun kita semua tahu untuk tidak mencampurkan air dan listrik, sepeda motorcross listrik kemungkinan besar lebih aman untuk mengarungi air dibandingkan model bensin konvensional. Sebab tidak ada ruang bakar yang memungkinkan air masuk.
Paten baru lainnya terkait sepeda motorcross listrik menunjukkan bagaimana Yamaha ingin memastikan pengendara dapat memaksimalkan performa saat balapan tanpa harus khawatir kehabisan daya.
Idenya adalah, sebelum balapan dimulai, pengendara dapat memasukkan perkiraan waktu yang dibutuhkan untuk balapan. Berdasarkan data tersebut serta jumlah daya baterai, sepeda motor akan menghitung seberapa besar performa yang mampu digunakan.
Idealnya, baterai akan habis pada akhir lomba setelah menggunakan seluruh energi yang tersimpan di dalamnya. Dengan mengotomatiskan perhitungan yang diperlukan untuk mengetahui berapa banyak tenaga yang dapat digunakan selama balapan, pengendara dapat melakukan balapan tanpa harus mengatur tingkat pengisian daya mereka sendiri. (BGX/ODI)
Sumber: Cycleworld
Baca Juga: Tested Pasar Motor Listrik Yamaha E01 Sudah 1 Tahun Lebih, Kapan Dijual?
Model Motor Yamaha
IIMS 2026
Tren & Pembaruan Terbaru
- Terbaru
- Populer
Anda mungkin juga tertarik
- Berita
- Artikel feature
Motor Unggulan Yamaha
- Terbaru
- Yang Akan Datang
- Populer
Video Motor Yamaha Terbaru di Oto
Artikel Motor Yamaha dari Zigwheels
- Motovaganza
- Review
- Artikel Feature