Begini Jadinya Kalau Ferrari Beralih Pakai Penggerak Listrik
Deru mesin gahar menjadi salah satu identitas supercar. Namun zaman terus berubah, pabrikan harus berevolusi membesut kendaraan sesuai era baru. Elektrifikasi sudah digaungkan secara global. Contohnya, Porsche, pabrikan sportscar yang memiliki mobil listrik kencang seperti Taycan. Baru-baru ini terkuak rancangan EV masa depan dari Maranello, melalui forum Taycan.

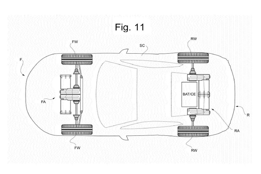
Kalau mengacu pada sketsa rancang bangun, Ferrari EV diduga memiliki empat motor listrik. Jadi tersedia pada tiap roda. Empat cakra bergerak macam sistem all wheel drive. Tapi secara mekanis, dinamo penggerak independen memiliki poros yang terhubung langsung ke masing-masing roda. Bila melihat sistem operasi tunggal dari motor listrik, Ferrari mampu melakukan torque-vectoring kuat. Setidaknya Ferrari elektrik masa depan harus mempertahankan kehebatan performa dan handling mumpuni. Seperti citra model-model bermesin konvensional saat ini.
Melihat rancangan itu, paket baterai ditempatkan di area khusus bagian belakang, seperti pada kebanyakan EV saat ini. Namun perlu dicatat, aplikasi tertera berlaku pula pada kendaraan hybrid. Dalam hal ini, mesin pembakaran internal (ICE) berpotensi juga diletakkan di bagian itu, bukan baterai. Anda bisa mengamati lebih detail pada gambar struktur rangka.
Semoga itu jadi pertanda baik, kalau perusahaan berlogo Kuda Jingkrak ini serius membawa kendaraan yang lebih “hijau” ke dalam portfolio perusahaan. Sebuah penegasan dilontarkan langsung oleh CEO Ferrari, Louis Camilleri. Mereka segera mengeluarkan model listrik pertama, setelah 2025. Kenapa begitu lama? Saat ini pengembangan baterai jenis lithium-ion dinilai masih sangat lambat. Dan belum sesuai spesifikasi kebutuhan.

"Ya kalau menurut saya, mobil listrik Ferrari mendebut dunia setelah 2025. Teknologi baterai belum sesuai dengan yang seharusnya," terang sang CEO, di pabrik Ferrari, seperti dilansir Reuters. Tapi sebetulnya mereka sudah membuat dan menjual jenis kendaraan hybrid. Pada Mei tahun lalu, Ferrari naik satu tingkat lebih dekat dengan elektrifikasi. Mereka mengenalkan unit versi plug-in hybrid.
Hybrid Ferrari
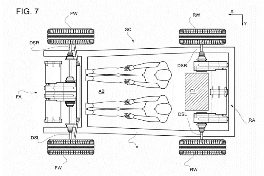
Ialah Ferrari SF90 Stradale, yang memiliki tiga motor listrik. SF90 menggunakan mesin lebih kecil, kapabilitas pengecasan plug-in, penggerak empat roda (AWD) dan tenaga lebih besar. Tidak perlu V12 sebagai mesin internal combustion utama. Melainkan V8 F154 milik 488 Pista yang di-bore-up, dari 3.902 cc menjadi 3.990 cc. Sokongan turbo ganda, memberi buncahan 769 hp dan torsi 800 Nm. Sontak ia menyandang Ferrari V8 paling beringas.
Baca Juga: Ferrari SF90 Stradale, Hypercar PHEV Bertenaga Dahsyat
Pasangan hybrid SF90 berupa tiga motor listrik. Satu terletak di poros roda belakang dan dua lagi di depan. Baterai lithium-ion menyediakan energi listrik untuk ketiga motor dan mampu berjalan sejauh 25 km di mode listrik eDrive. Jika mesin mati, dua motor listrik di depan dapat berlari sampai 135 km/jam. Tenaga dari motor listrik saja sampai 217 hp. Jika ditotal dengan mesin bensin, berarti menjadi 986 hp. Jelas melampaui LaFerrari yang hanya 949 hp. Seluruh daya Ferrari SF90 Stradale disalurkan menuju keempat roda via transmisi dual-clutch 8-speed. Ya, ini pertama kalinya sport car Ferrari menerapkan gerak empat roda.

Bobot SF90 hanya 1.570 kg, lebih ringan 13 kg dari LaFerrari. Platform baru lebih kaku 20 persen dan rigid 40 persen dibanding sasis lawas. Ditambah traksi empat roda yang tentu lebih baik dari gerak belakang (RWD). Ia sanggup mengilat dari 0-100 km/jam hanya 2,5 detik. Dan 0-200 km/jam cuma 6,7 detik. Figur ini hampir sama dengan LaFerrari, tapi mengitari sirkuit Fiorani lebih cepat sedikit dalam 79 detik (1 menit 19 detik). Sedangkan LaFerrari 1:19,70. Inilah gambaran nyata kendaraan Hybrid Ferrari.
Entah bagaimana bila mereka benar-benar bertransformasi menjadi perusahaan super-electric-car. Pasalnya pecinta Ferrari punya loyalitas tinggi terhadap mesin konvensional. Jujur, tidak mudah menggeser paradigma mereka soal kendaraan super. Apalagi bila Anda benar-benar melesat (pakai EV) tanpa suara, kecuali terdengar embusan angin. Sensasi suara engine gahar mungkin bisa diganti oleh artificial sound (deru palsu). Tapi tetap saja para loyalis tak bisa dibohongi.
Itikad perusahaan membawa super-EV memang benar adanya. Cuma, terdapat kendala. "Masih ada masalah signifikan dalam hal otonomi, khususnya soal kecepatan pengisian baterai. Jadi kami mau bikin satu. Tapi produksi pasca-2025. Tidak dalam jangka pendek ini," pungkas Camilleri. (Alx/Tom)
Sumber: Motor1, Reuters
Baca Juga: Ferrari Raih Penghargaan Sebagai Merek Terkuat di Dunia
Jual mobil anda dengan harga terbaik
Pembeli asli yang terverifikasi
GIIAS 2025
Tren & Pembaruan Terbaru
- Terbaru
- Populer
Anda mungkin juga tertarik
- Berita
- Artikel feature
Mobil Pilihan
- Terbaru
- Yang Akan Datang
- Populer
Video Mobil Terbaru di Oto
Artikel Mobil dari Carvaganza
Artikel Mobil dari Zigwheels
- Motovaganza
- Tips
- Review
- Artikel Feature