Tesla Patenkan Wiper Tanpa Poros, Cocok untuk Cybertruck
Perkembangan desain semakin pesat. Terlebih memasuki era elektrifikasi. Tesla contohnya, berdiri sebagai garda depan di sektor otomotif dan elektrifikasi. Belum lama mereka mendobraknya dengan Cybertruck - dengan desain yang sangat tidak biasa - kini kembali menawarkan model wiper terbaru.

Komponen penghapus kaca itu, memang bukan merupakan bagian paling menarik untuk dibahas. Namun, tak dapat disangkal ialah komponen krusial. Bila menilik sejarah, ternyata pengembangannya sendiri bermacam-macam dari segi jumlah dan cara beroperasi. Contoh di MG Midget era 70an mengusung tiga bilah penyapu. Humvee, SUV militer AS, berporos pada bagian atas bingkai kaca. Ada juga teknologi satu tangkai yang sanggup menyapu bersih hingga ke sudut, seperti di Mercedes-Benz W124.
Agak membingungkan kala melihat gambar Cybertruck sebab tidak ditemukan wujudnya. Sulit dibayangkan lantaran permukaan kaca dibuat rata dengan pilar dan bodi. Berarti tidak ada tempat untuk menyembunyikan peranti penyapu air kecuali dibuat terekspos. Untuk hal ini Tesla sepertinya tengah menyiapkan rancangan anyar. Menyesuaikan karakteristik Cybertruck dan model mereka.
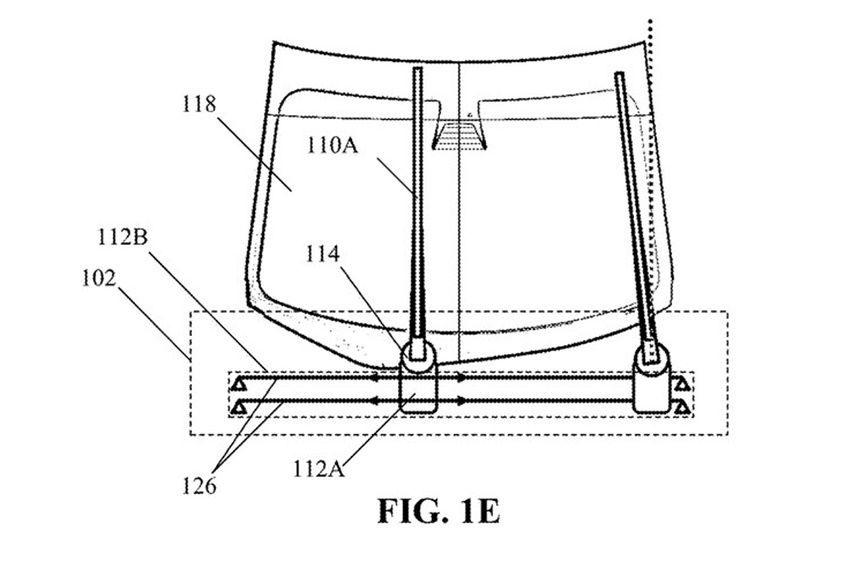
Memperkuat probabilitas adalah sebuah paten desain yang diajukan pada Maret 2019, lalu terpublikasi di September. Itu merupakan paten wiper Tesla dengan satu batang penyapu. Cara bekerjanya tidak mengandalkan putaran poros, melainkan bergeser dari sisi ke sisi. Secara konsep bisa digambarkan seperti sedang membersihkan kaca dengan pel karet.

Teknologi ini memanfaatkan rel elektromagnetik di sisi atas dan bawah. Beroperasi bagai Shinkansen di Jepang. Fungsi magnet melekatkan tangkai sekaligus bergeser seirama untuk menyapu bersih air di kaca. Dapat dipastikan dalam sekali sapu air tidak luput dari kinerja wiper. Dikatakan, juga dapat bekerja optimal pada permukaan lebih kompleks.
Cybertruck paling pas untuk menguji kemampuan wiper ini sebab permukaan kaca sangat rata. Tinggal pasang dua rel lalu wiper dapat digunakan. Disebutkan juga, punya pergerakan lebih atraktif. Rancangan nyeleneh Cybertruck memang bukan tempat aneh untuk mencoba hal baru. Malah janggal bila dipasang peranti konvensional. Ke depannya, mungkin saja Tesla merancang model unik lain dan mendapat teknologi serupa.
Perangkat elektromagnetik pun diklaim cocok untuk karakteristik mobil listrik. Tesla menyebutkan rel elektromagnetik tidak menyedot terlalu banyak energi ketimbang motor konvensional. Untuk mobil bertenaga fosil tentu bukan bahan pertimbangan, namun penting bagi EV. Lantaran seluruh keluaran daya listrik memengaruhi tempuhan jarak. (Krm/Odi)
Sumber: Motortrend
Baca Juga: Tesla Rilis Cybertruck, Pikap Futuristik Anti Peluru
Jual mobil anda dengan harga terbaik
Pembeli asli yang terverifikasi
Model Mobil Tesla
GIIAS 2025
Tren & Pembaruan Terbaru
- Terbaru
- Populer
Anda mungkin juga tertarik
- Berita
- Artikel feature
Mobil Unggulan Tesla
- Populer
Video Mobil Tesla Terbaru di Oto
Artikel Mobil Tesla dari Carvaganza
Artikel Mobil Tesla dari Zigwheels
- Motovaganza