Motor Harley-Davidson Bakal Pakai Teknologi Penyeimbang Giroskop
Harley-Davidson tengah mengembangkan teknologi self-balancing. Pabrikan moge asal Amerika Serikat dikabarkan tengah mengajukan paten yang memungkinkan motor jadi lebih seimbang. Inovasi ini ditujukan buat pengendara, khususnya pemula agar tidak mudah jatuh ketika mengendarai moge Harley-Davidson yang tersohor akan bobotnya itu.
Beberapa tahun belakangan, Harley-Davidson memiliki masalah pelik yang harus dihadapi. Sulitnya penjualan lantaran pelanggan lama yang mulai meninggalkan dan sepinya minat dari pengguna baru atau pemula. Salah satu faktor minimnya daya tarik bagi pemula yakni produk mereka yang terkenal kelas berat. Bahkan tak jarang pengendara berpengalaman hilang keseimbangan dan terjatuh saat melaju pelan.

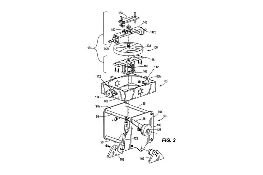
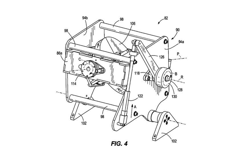
Jalan keluar yang sedang mereka jalankan yakni membuat alat yang menguntungkan bagi pemilik moge agar lebih mudah dikendarai. Baik untuk pemula, rider berpengalaman, pemuda dan orang tua. Hak paten yang diajukan baru-baru ini seperti sistem giroskop mandiri. Komponen itu diletakkan di dalam box belakang atau setidaknya di area tempat duduk penumpang dan di atas roda belakang.
Inovasi yang dikirimkan ke lembaga hak paten pada 20 April menggambarkan Harley Davidson CVO Limited dengan berat mencapai 428 kg. Dari situ awal mula pemikiran mereka untuk membuat alat yang dapat membantu pengendara, agar motor tetap stabil dan tidak mudah jatuh saat kecepatan rendah.
Baca juga: Motor Listrik Harley-Davidson Masuk India, Harganya Cuma Rp 424 Juta!
Teknologinya bekerja berdasarkan sistem giroskopik atau gyro mikro elektro mekanis. Hal itu berbeda dengan unit pengukuran inersia (Inertial Measurement Unit/IMU) modern. Di dalamnya ada beberapa komponen yang secara efektif dapat menentang gravitasi. Komponen utama dalam giroskop yaitu sebuah roda pemberat yang dapat berputar antara 10.000 dan 20.000 rpm. Kemudian alat itu disematkan pada sebuah gimbal dengan dua sumbu.

Bobotnya memang berat, tapi selama pengendaraan normal tidak memengaruhi pergerakan sepeda motor. Sebaliknya jika kuda besi berjalan lambat, giroskop mulai bekerja dan mencari keseimbangan yang memudahkan pengendara mengendalikan motor. Pada kecepatan sangat rendah, motor listrik mulai memutar roda pemberat yang terhubung ke aktuator sehingga dapat menggerakkan gimbal ke kiri atau ke kanan. Aktuator dikendalikan oleh sistem elektronik yang dapat merasakan kemiringan sepeda motor melalui sensor.
Inovasi ini tidak serumit yang dibayangkan, justru seperti giroskop pada mainan anak-anak. Berbentuk seperti sebuah roda berputar atau cakram yang terdapat poros bebas untuk mengambil setiap momentum. Rotor tetap berada ditempatnya karena dipasangkan pada sebuah gimbal yang meminimalkan torsi eksternal.
Alat ini hanya membutuhkan pasokan listrik untuk beroperasi dan dapat dipasang ke hampir semua varian Harley-Davidson. Dari gambar paten menunjukkan bahwa ada dua kabel yang diambil dari pembaca kecepatan. Atau sebagai gantinya bisa juga menggunakan sistem GPS bawaan pabrik untuk mengukur kecepatan.

Untuk pengendara baru, giroskop dapat dilepas begitu mereka mendapatkan kepercayaan diri untuk mengendarainya. Dan bagi pengendara yang sudah tua, inovasi ini menjadi opsi penting untuk menambah sistem penyeimbang, sehingga mereka dengan mudah mengendalikan Harley-Davidson yang berat. Namun, pabrikan Amerika itu belum mengkonfirmasi kapan teknologi ini akan secara resmi diluncurkan. (Bgx/Tom)
Sumber: Cycleworld, Ride Apart
Baca juga: Kustom Harley-Davidson Heritage Softail Classic, dari Touring Jadi Bobber Harian
-
Jelajahi Harley Davidson Ultra Limited
Harley Davidson Ultra LimitedRp 999 Juta Cicilan : Rp 23,48 Juta x 36
Model Motor Harley Davidson
IIMS 2026
Tren & Pembaruan Terbaru
- Terbaru
- Populer
Anda mungkin juga tertarik
- Berita
- Artikel feature
Motor Unggulan Harley Davidson
- Terbaru
- Yang Akan Datang
- Populer
Bandingkan & Rekomendasi
Harley Davidson Ultra Limited
Rp 999 Juta
Tulis Review
Harga Ultra Limited
|
|
|
|
|
Kapasitas
1868
|
1745
|
1745
|
1833
|
|
Torsi Maksimal
164 Nm
|
149 Nm
|
149 Nm
|
170 Nm
|
|
Jenis Mesin
4-Stroke, DOHC
|
4-Stroke, DOHC
|
4-Stroke, DOHC
|
Liquid Cooled horizontally opposed, Six Cylinder
|
|
Opsi start
Electric
|
Electric
|
Electric
|
Electric
|
|
ABS
Ya
|
Optional
|
Ya
|
-
|
|
Mode Berkendara
Touring, Road
|
Touring, Road
|
Touring, Road
|
Tour, Sport, Rain, Economy
|
|
Head Lamp
LED
|
Bulb
|
LED
|
LED
|
|
Rem Belakang
Disc
|
Disc
|
Disc
|
Disc
|
|
Rem Depan
Disc
|
Disc
|
Disc
|
Disc
|
|
Tenaga Maksimal
-
|
-
|
-
|
124.58
|
|
|
Tren Touring
- Populer
Artikel Motor Harley Davidson Ultra Limited dari Zigwheels
- Motovaganza
- Tips
- Review
- Artikel Feature